ООО ПРОМСТРОЙ Стропы, Траверсы, Захваты от производителя Тали, Лебедки, Домкраты от дилера
  • Стропы, Траверсы, Захваты от производителя
  • Тали, Лебедки, Домкраты от дилера
Наш адрес: 125212, Москва, Головинское шоссе, д. 5, офис 29
Телефон:  (095) 730-31-65, 542-26-25
e-mail:  stropovka@yandex.ru
ООО "ПРОМСТРОЙ"    

О нас / Продукция / Домкраты / Домкраты реечные / Домкраты подкатные / Домкраты подкатные frogline Jack Технические характеристики / Домкраты гидравлические / Домкраты ромбовые / Домкраты двухступенчатые / Гидроцилиндры силовые / Насосы гидравлические

Домкраты

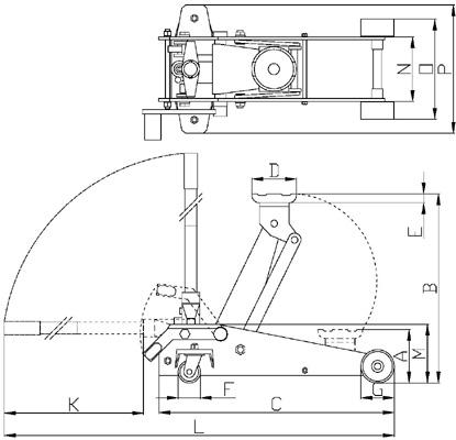
Технические характеристики на домкраты подкатные frogline Jack

Технические характеристики на домкраты подкатные frogline Jack

Артикул: dp.11 dp.18 dp.83505 dp.123
Грузоподъемность, т 1,5 2,25 3 3,5
Высота подхвата A, мм 90 130 95 150 / 250
Высота подъема B, мм 445 445 565 525 / 625
C, мм 595 530 730 635
E, мм 24 24 18 24
F, мм 60 60 60 60
G, мм 75 92 70 90
K, мм 1135 785 1255 955
L, мм 1804 1370 2024 1640
M, мм 125 150 130 150
N, мм 140 150 171 175
O, мм 135 220 280 270
P, мм 290 320 360 345
Диаметр Площадки D, мм 126 90 130 120 / 70
Резиновой накладки D, мм нет 100 нет 130
Сьёмная высокая площадка: нет нет нет да
Педаль предварительного подъема: нет нет нет да
Вес нетто, кг 17 24,5 40,5 39,5
Вес брутто, кг 19 26 42 41,5
Габариты в упаковке ДхШхВ, мм 600
х
290
х
152
600
х
340
х
190
725
х
350
х
197
725
х
350
х
197
2005 © ООО ПРОМСТРОЙ"
http://www.stropovka.ru/
stropovka@yandex.ru
125212, Москва, Головинское шоссе, дом 5, офис 29
Тел.  (095) 730-31-65
542-26-25