
|
|
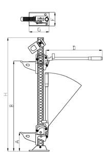
Артикул: |
dr.8205 |
dr.8335 |
dr.1403 |
dr.8605 |
Грузоподъемность, т |
3 |
3 |
3 |
3 |
Высота подхвата A, мм |
153 |
153 |
154 |
155 |
Высота подъема B, мм |
380 |
700 |
1070 |
1350 |
H, мм |
515 |
835 |
1220 |
1485 |
G, мм |
180 |
180 |
180 |
180 |
F, мм |
117 |
117 |
117 |
117 |
D, мм |
310 |
630 |
850 |
850 |
Вес нетто, кг |
12 |
13 |
14 |
14,5 |
Вес брутто, кг |
13 |
14 |
15 |
15,5 |
Габариты в упаковке
ДхШхВ, мм |
540
х
245
х
140 |
890
х
245
х
140 |
1235
х
245
х
140 |
1515
х
245
х
140 |
|