|
|
| Артикул: |
.2704 |
.2705 |
.2707 |
.2710 |
.2715 |
.220 |
.2730 |
.2760 |
| Грузоподъемность, т |
0,25 |
0,5 |
0,75 |
1 |
1,5 |
2 |
3 |
6 |
| Высота подъема, м |
1,5 |
1,5 |
1,5 |
1,5 |
1,5 |
1,5 |
1,5 |
1,5 |
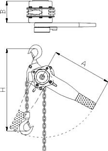
| Расстояние между крюками
Нmin, мм |
245 |
300 |
310 |
310 |
355 |
380 |
480 |
585 |
| Количество силовых цепей,
шт |
1 |
1 |
1 |
1 |
1 |
1 |
1 |
2 |
| A, мм |
155 |
280 |
290 |
290 |
415 |
415 |
415 |
415 |
| B, мм |
56 |
62 |
105 |
105 |
120 |
120 |
130 |
145 |
| С, мм |
20 |
26 |
26 |
28 |
32 |
34 |
34 |
44 |
| Вес нетто, кг |
5,7 |
3,8 |
6,7 |
6,7 |
10,5 |
10,8 |
18 |
25,8 |
| Вес брутто, кг |
6,3 |
4,1 |
7,3 |
7,3 |
11,2 |
11,5 |
18,7 |
26,5 |
| Габариты в упаковке, мм |
300
х
110
х
80 |
350
х
117
х
85 |
370
х
175
х
145 |
370
х
175
х
145 |
515
х
195
х
160 |
515
х
195
х
160 |
540
х
220
х
220 |
540
х
220
х
220 |
|
Технические характеристики на Тали
ручные рычажные LEMA, Польша (Тали механические рычажные)

| Артикул: |
61 075 15 |
61 15 15 |
61 03 15 |
61 06 15 |
| Грузоподъемность, т |
0,75 |
1,5 |
3 |
6 |
| Высота подъема, м |
1,5 |
1,5 |
1,5 |
1,5 |
| Расстояние между крюками
Н min, мм |
325 |
380 |
480 |
620 |
| Диаметр силовой цепи,
ф мм |
6 |
8 |
10 |
10 |
| A, мм |
148 |
172 |
200 |
200 |
| B, мм |
90 |
98 |
115 |
115 |
| С, мм |
136 |
160 |
180 |
235 |
| D, мм |
40 |
45 |
58 |
64 |
| L, мм |
280 |
410 |
410 |
410 |
| K, мм |
34 |
38 |
48 |
52 |
| Вес нетто, кг |
7 |
11 |
21 |
31 |
| Габариты в упаковке,
мм |
360 х 125 х 160 |
500 х 135 х 190 |
540 х 170 х 215 |
540 х 180 х 215 |
|
|